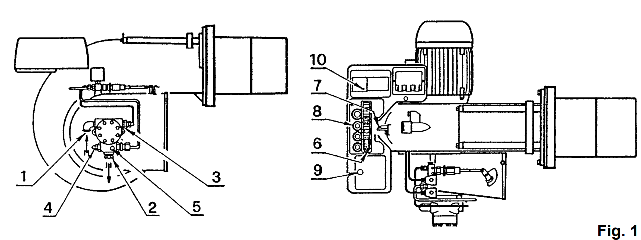
MESIN BURNER SOLAR – RIELLO PRESS 4G ( 1.400.000 KCAL )

Related products