JUAL GAS BURNER RIELLO 40 FS20 ( 569 T30 ) – SINGLE STAGE KAP : 70,000 – 189,000 KCAL
Seri pembakar gas satu tahap Riello 40 FS20 merupakan rangkaian lengkap produk yang dikembangkan untuk menanggapi setiap permintaan aplikasi industri ringan. Seri Riello 40 FS tersedia dalam lima model berbeda, dengan output berkisar antara 81 hingga 220 kW, dibagi dalam empat struktur berbeda.
Semua model menggunakan komponen yang sama yang dirancang oleh Riello untuk seri Riello 40 FS. Tingkat kualitas yang tinggi menjamin kerja yang aman. Pembakar Riello 40 FS dilengkapi dengan kotak kontrol berbasis mikroprosesor, dengan fungsi diagnostik.
Dalam mengembangkan pembakar ini, perhatian khusus diberikan untuk mengurangi kebisingan, kemudahan pemasangan dan penyesuaian, untuk mendapatkan ukuran sekecil mungkin agar sesuai dengan semua jenis ketel yang tersedia di pasaran. Semua model disetujui oleh Standar Eropa EN 676 dan sesuai dengan Petunjuk Eropa untuk EMC, Tegangan Rendah, Mesin, dan Efisiensi Ketel. Semua pembakar Riello 40 FS diuji sebelum meninggalkan pabrik.
TEKNIKAL DATA RIELLO R40 FS20
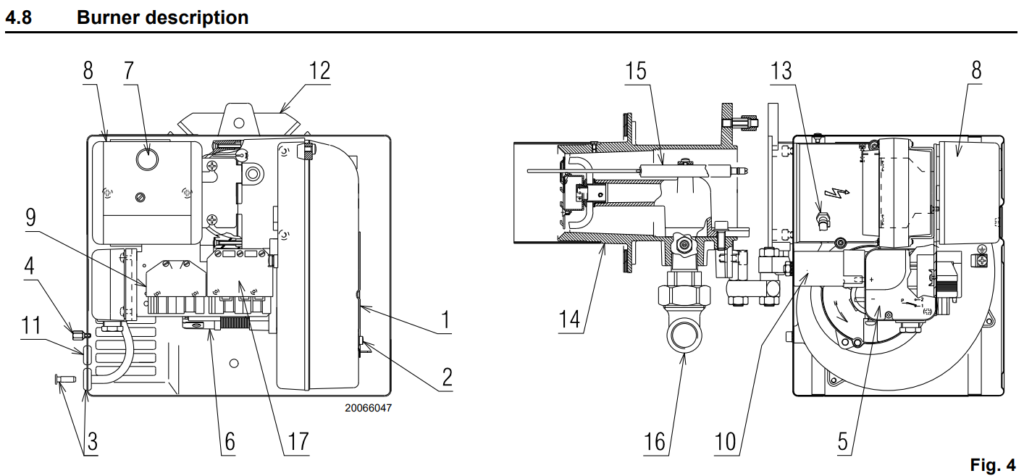
DESKRIPSI RIELLO R40 FS20
- Air damper
- Damper fixing screws
- Pressure test point (-)
- Cover fixing screw
- Air pressure switch
- Motor
- Lock-out signal with reset button
- Control box
- 6 pole socket for gas train
- Capacitor
- Grommet
- Flange
- Pressure test point (+)
- bustion head
- Electrode-probe
- Gas train elbow
- 7-pole socket for power supply and remote controls
GASTRAIN RIELLO R40 FS20
Hubungi Kami
PT. INDIRA MITRA BOILER




Comments
No comment yet.