JUAL RIELLO GAS 7/2 – GAS BURNER INDUSTRY
Burner Gas 7/2 adalah burner ITALIA pembakar dengan bahan bakar Natural Gas/LPG Pengoperasiannya dua tahap dengan kepala pembakaran yang dapat diatur berdasarkan output yang dibutuhkan, memungkinkan kinerja optimal yang memastikan pembakaran yang baik dan mengurangi konsumsi bahan bakar. Kapasitas mulai dari Api satu 344.000 Kcal hingga 1.514.000 Kcal dapat di Aplikasikan untuk Industry sbb:
- Burner/Pembakar Steam Boiler
- Burner/ Pembakar Rotary Dryer
- Burner/ Pembakar Mesin Thermal Oil Heater
- Burner/ Pembakar Oven
Fitur utama pembakar ini adalah keandalannya karena konstruksinya yang sederhana dan kuat, yang memungkinkan pengoperasian tanpa intervensi perawatan khusus. Perawatan yang disederhanakan dicapai dengan sistem bilah geser, yang memungkinkan akses mudah ke semua komponen penting dari kepala pembakaran. Semua komponen listrik mudah diakses hanya dengan melepas panel pelindung, sehingga menjamin intervensi yang cepat dan sederhana pada komponen.
Technical Datasheet Burner Riello Gas 7/2
- MODEL : GAS 7/2
- Burner operation mode : Two stage
- Modulation ratio at max. output : 2 ÷ 1
- Servomotor : LKS210
- Heat output : kW 400/800÷1760
- Heat output : Mcal/h 344/668÷1514
- Working temperature °C : min./max. 0/40
- Net calorific value LPG gas kWh/Nm3 : 25,8
- Density LPG gas kg/Nm3 : 2,02
- Output LPG gas Nm3/h : 15,5/31÷68
- Control box Type : RMG
- Motor electrical power kW : 3
- Ignition transformer V1 – V2 : 230V-1×8 kV 1A – 20 mA
(1) Kondisi referensi: Suhu sekitar 20 ¯C – Tekanan barometrik 1000 mbar – Ketinggian 100 m dpl.
(2) Tekanan pada titik uji 12)(A)p.8, dengan tekanan nol di ruang pembakaran, dengan cincin gas terbuka 2)(B)p.16 dan output pembakar maksimum.
(3) Tekanan suara diukur di laboratorium pembakaran pabrik, dengan pembakar beroperasi pada ketel uji dan pada output terukur maksimum. Daya suara diukur dengan metode “Free Field”, sesuai EN 15036, dan sesuai dengan akurasi pengukuran “Accuracy: Category 3”, sebagaimana ditetapkan dalam EN ISO 3746.
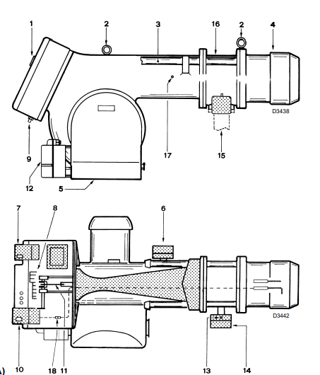
DESKRIPSI BURNER RIELLO GAS 7/2
DESKRIPSI PEMBAKAR (A)
1 Penampil api
2 Cincin pengangkat
3 Batang geser untuk membuka pembakar dan
memeriksa kepala pembakaran (lihat catatan)
4 Kepala pembakaran (dua panjang)
5 Katup gerbang udara
6 Sakelar tekanan udara
7 Pembuat kontak motor dan relai termal
(GAS 8-9 penyalaan langsung)
8 Strip terminal
9 Kabel yang bagus (peralatan standar)
(Peralatan listrik yang dipasang oleh pemasang)
10 Kotak kontrol dengan lampu pilot pengunci dan tombol reset pengunci
11 Batang penggerak kepala pembakaran
12 Servomotor kontrol udara
13 Titik uji tekanan gas ke selongsong
14 Sakelar tekanan gas MAX
15 (Pipa masukan gas)
16 Selongsong
17 Titik uji tekanan kipas
18 Soket colokan pada kabel probe ionisasi
GAS TRAIN/ JALUR GAS
KERETA GAS
Disetujui menurut standar EN 676 dan
disediakan terpisah dari pembakar.
KUNCI TATA LETAK
- Pipa masukan gas
- Katup manual
- Sambungan peredam getaran
- Pengukur tekanan dengan keran tombol tekan
- Filter
- A Termasuk:
– Filter
– katup kerja
– katup pengaman
– pengatur tekanan
6B Termasuk:
– katup kerja
– katup pengaman
– pengatur tekanan
6C Termasuk:
– katup pengaman
– katup kerja
6D Termasuk:
– katup pengaman
– katup kerja - Sakelar tekanan gas minimum
- Kontrol deteksi kebocoran, disediakan sebagai aksesori atau terintegrasi, berdasarkan kode kereta gas. Sesuai dengan standar EN 676, kontrol deteksi kebocoran wajib untuk pembakar dengan output maksimum lebih dari 1200 kW.
- Gasket, hanya untuk versi “bergelang”
- Pengatur tekanan
- Adaptor Train-Burner, disediakan terpisah
P2 Tekanan hulu katup/pengatur
P3 Tekanan hulu filter
L Train gas, disediakan terpisah
L1 Tanggung jawab pemasang
Catatan
Lihat petunjuk terlampir untuk pengaturan train gas.
Untuk memilih model train gas yang benar, rujuk ke
manual “Kombinasi train gas-burner” yang disertakan.
Hubungi Kami
PT. INDIRA MITRA BOILER





Comments
No comment yet.