GAS BURNER BALTUR BTG 12 KAP: 35-115 kW
GAS BURNER BALTUR BTG 12 KAP: 35-115 kW
Produk dari Baltur (Italia), seri BTG adalah burner gas monostadio (single-stage / hidup/mati) untuk pemakaian industri seperti boiler, oven, furnace. Tipe BTG 12 dirancang untuk bahan bakar gas alam (natural gas) atau LPG (gas cair) dengan pengoperasian satu tahap (on/off), Standar produksi memenuhi standar Eropa, seperti EN 676.
-
GAS BURNER BALTUR BTG 12 KAP: 35-115 kW
GAS BURNER BALTUR BTG 12 KAP: 35-115 kW
Produk dari Baltur (Italia), seri BTG adalah burner gas monostadio (single-stage / hidup/mati) untuk pemakaian industri seperti boiler, oven, furnace. Tipe BTG 12 dirancang untuk bahan bakar gas alam (natural gas) atau LPG (gas cair) dengan pengoperasian satu tahap (on/off), Standar produksi memenuhi standar Eropa, seperti EN 676.
- Pembakar gas sesuai dengan standar Eropa EN676.
- Operasi: satu tahap dua tahap
- Pembakar gas rendah emisi NOx dan CO sesuai dengan standar Eropa EN676: kelas 2
- Menyetel kepala pembakaran
- Perawatan dipermudah dengan kemungkinan melepas unit pencampur tanpa harus melepas pembakar dari boiler
- Flensa kopling boiler geser untuk menyesuaikan pipa peledak dengan berbagai jenis boiler
- Intake udara pembakaran dengan katup kupu-kupu. Pengaturan aliran udara: manual
- Peredam udara yang menutup sepenuhnya saat dimatikan untuk mencegah hilangnya panas melalui cerobong asap
- Kereta gas versi CE dilengkapi dengan katup pengaman dan pengoperasian dengan penggerak elektromagnetik, saklar tekanan minimum, pengatur tekanan, dan filter gas
- Kemungkinan untuk menambahkan kereta gas dengan kontrol kekencangan katup
- Konektor anti-gagal untuk koneksi burner/kereta gas
- Outlet kereta gas: naik ke atas
- Deteksi api oleh elektroda ionisasi dengan konektor untuk mikroamperometer
- Peringkat perlindungan listrik: IP40
- Penutup pelindung plastik kedap suara
SPESIFIKASI BALTUR BTG 12
- Emisi : kelas 2
- Keluaran Termal : 35,0 ÷ 115,0 kW
- Model : BTG 12
- No. Komponen
- Listrik : 1N AC 50Hz 230V
- Frekuensi 50 Hz
- Suplai Motor : 0,1 kW
TEKNIKAL DATA BTG 12
- MODEL BTG 12
- DAYA TERMAL METANA MAKSIMUM : 115 kW
- POTENCYTHERMICAMINIMAMETHANE : 35 kW
- OPERASI : tahap tunggal
- TRANSFORMATOR METAN : 50 Hz 17 kV – 60 mA
- ALIRAN TERMAL METANA MAKSIMUM : 11.88 Stm2 / h
- LAJU ALIRAN TERMAL MINIMUM : 3.6 Stm2 / h
- TEKANAN METANA MAKSIMUM : HPA 360 (mbar)
- TEKANAN MINIMAMETANA : HPA 16.6 (mbar)
- POTENCYSTERMICMAXIMAPROPANA : 115 kW
- DAYA TERMAL MINIMUM PROPANA : 35 kW
- ALIRAN TERMAL MAKSIMUM PROPANA STM: 4.7/ h
- PORTATERMICAMINIMAPROPANE : Stm2 1.43 / h
- TEKANAN MAKSIMUMPROPANA : HPA 200 (mbar)
- TEKANAN PROPANA MINIMUM : HPA 14.6 (mbar)
- 2) EMISI PROPANA : mg / Kh Kelas 3
- MOTOR KIPAS 50Hz : 0.11kW
- DAYA YANG DISERAP ” 50Hz : 0.2 kW
- TEGANGAN SUPLAI : 50 Hz 1N-230V ± %
- TINGKAT PERLINDUNGAN : IP 20
- DETEKSI API : SONDAIONISASI
- PERALATAN : BRAHMA KOMPACT TGRD61
- PENYESUAIAN ALIRAN UDARA
- TEKANAN SUARA : 60 dBA
- POWERSONORA : 72 dBA
- BERAT DENGAN KEMASAN : 12 kg
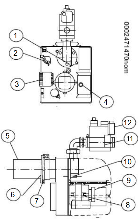
DESKRIPSI BURNER BALTUR BTG 12
- Cakram pembakar – kepala
- Cakram pembakar adalah jenis pembakar yang digunakan untuk pembakaran.
- Konektor 7-pin
- Pembakar
- Kepala pembakaran
- Gasket isolasi
- Flensa sambungan pembakar
- Motor
- Sakelar tekanan udara
- Sekrup penyetel cakram kepala
- Blok gas monoblok, katup 12-katup
- Tekanan gas minimum
Jika ada kebutuhan/info tentang pompa suntec
Hubungi Kami
PT. INDIR A MITRA BOILER
- Kantor : Emerald Residence Sepatan Ruko 8i, RT.026/RW.005, Kosambi, Kec. Sukadiri, Kabupaten Tangerang, Banten 15530
- Whatsapp : 0895 3287 02165
- Ponsel : 0821 1185 1623
- Telp : 021 5011 0567
- Surel : wahyuidm86@gmail.com
- : wahyuspi46@gmail.com
-
Be the first to review “GAS BURNER BALTUR BTG 12 KAP: 35-115 kW”






Reviews
There are no reviews yet.