MESIN BURNER GAS – RIELLO RS 50 ( 500.000 KCAL )
-
MESIN BURNER GAS – RIELLO RS 50 ( 500.000 KCAL )
Riello RS 50 Adalah Mesin Pembakar dengan Bahan Bakar Gas Asal Brand Italia. Rentang Output Sekitar 115 kW (tahap rendah) hingga 600 kW (tahap tinggi). Bahan Bakar Gas alam (Natural Gas), dapat juga untuk LPG/PGN dengan penyesuaian. Operasi Dua tahap progresif (two-stage progressive), dengan opsi modulasi pada model RS 50/M. Aplikasi Boiler air panas suhu rendah/sedang, boiler udara panas, boiler uap, dan boiler minyak diatermik.Kontrol Menggunakan kotak kontrol keamanan pembakar berbasis mikroprosesor untuk indikasi operasi dan diagnosis kesalahan. Motor Kipas Motor tiga fase (400V, 50Hz) dengan bilah melengkung terbalik untuk performa tinggi. Fitur Tambahan Sirkuit hisap udara kedap suara, sakelar tekanan udara minimum, jendela inspeksi api, dan tingkat perlindungan listrik IP 44.SPESIFIKASI RIELLO RS 50 ( 500.000 KCAL )
- Model : Riello RS 50
- Type : 811 T
- Output – Tahap ke-2 : 295 – 600 kW / 254 – 516 Mcal/jam
- Output – Tahap ke-1 : min Daya 115 kW / 99 Mcal/jam
- Bahan Bakar – Gas Alam (G20 / G25 / G31)
- Nilai Kalor Bersih
- Model G20 : 10 kWh/Nm³ – 8,6 Mcal/Nm³
- Model G25 : 8,6 kWh/Nm³ – 7,4 Mcal/Nm³
- Kepadatan Absolut
- G20 : 0,71 kg/Nm³
- G25 : 0.78 kg/Nm³
- Pengiriman Maksimum
- Model G20 (58 Nm³/jam)
- Model G25 (68 Nm³/jam)
- Pengoperasian & Aplikasi : PengoperasianHidup–Mati (min. 1 berhenti setiap 24 jam) Mode PembakaranDua tahap (nyala api tinggi & rendah) dan satu tahap (hidup/mati)
- Aplikasi standar : Ketel uap: air, uap, minyak diatermik
- Batas Suhu
- Suhu sekitar : 0 – 40 °C
- Suhu udara pembakaran : (maks) 60 °C
- Tingkat Kebisingan
- Model Tekanan Suara : 72 dB(A)
- Keluaran Suara : 83 dB(A)
DESKRIPSI RIELLO RS 50 ( 500.000 KCAL )
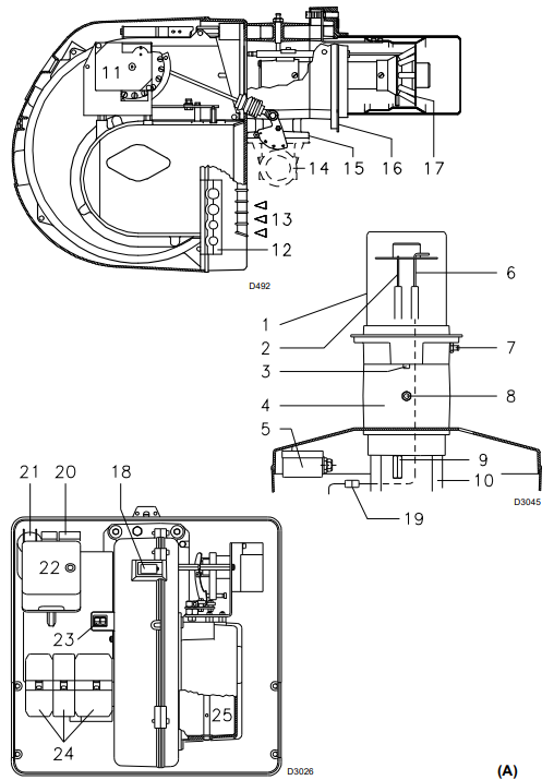
DESKRIPSI PEMBAKAR (A)
- Kepala pembakaran
- Elektroda pengapian
- Sekrup untuk penyetelan kepala pembakaran
- Selongsong
- Sakelar tekanan udara minimum (tipe operasi diferensial)
- Probe sensor api
- Titik uji tekanan udara
- Titik uji tekanan gas dan sekrup pengencang kepala
- Sekrup yang mengamankan kipas ke selongsong
- Batang geser untuk membuka pembakar dan memeriksa kepala pembakaran Servomotor yang mengontrol katup kupu-kupu gas
dan katup gerbang udara (dengan menggunakan mekanisme cam profil variabel). - Ketika pembakar tidak beroperasi, katup gerbang udara tertutup sepenuhnya untuk mengurangi penyebaran panas dari boiler karena aliran udara dari saluran masuk kipas.
- Pelat dengan empat lubang untuk jalur kabel listrik
- Saluran masuk udara ke kipas
- Pipa input gas
- Katup kupu-kupu gas
- Flensa pemasangan boiler
- Cakram stabilitas api
- Jendela inspeksi api
- Steker-soket pada kabel probe ionisasi
- Kontaktor motor dan tombol reset pemutus termal (RS 38 – 50 tiga fasa)
- Kapasitor motor (RS 28 – 38 satu fasa)
- Kotak kontrol dengan lampu pilot pengunci dan tombol reset pengunci
- Dua sakelar:
– satu untuk “pembakar mati – hidup”
– satu untuk “operasi tahap 1 – 2” - Steker untuk sambungan listrik
- Katup gerbang udara
PT. INDIRA MITRA BOILER
- Office : Emerald Residence Sepatan Ruko 8i, RT.026/RW.005, Kosambi, Kec. Sukadiri, Kabupaten Tangerang, Banten 15530
- Whatsapp : 0895 3287 02165
- Mobile : 0821 1185 1623
- Tlp : 021 5011 0567
- Email : wahyuidm86@gmail.com
- wahyuspi46@gmail.com
-
Be the first to review “MESIN BURNER GAS – RIELLO RS 50 ( 500.000 KCAL )”








Reviews
There are no reviews yet.