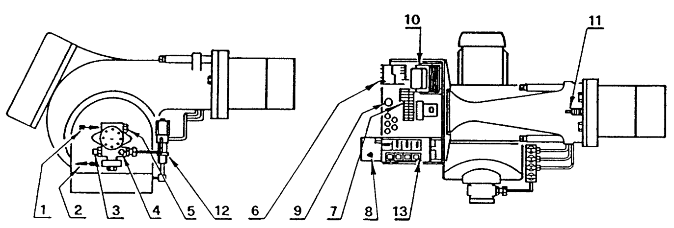
MESIN BURNER SOLAR – RIELLO PRESS 450 T/G ( 4.500.000 KCAL )

Related products