JUAL RIELLO RL 70 – LIGHT OIL BURNER INDUSTRY
Burner Riello RL 70 adalah Burner/Pembakar dengan dua Nozzle atau Two Stage/ dua tahap pembakaran, pembakaran api satu dengan kapasitas 219.000 – 405.0000 Kcal/h dan pembakaran Api dua dengan kapasitas Maksimal 714.000 Kcal/h. Burner Riello Type RL burner Paket Brand Italy. kebutuhan bakar bakar Solar Min 21,5 – 70 Kg/Jam.
Burner Riello RL 70 ini juga dirancang untuk digunakan dalam boiler air panas suhu rendah atau sedang, boiler udara panas atau uap, boiler minyak diatermik. Pengoperasiannya adalah “dua tahap”; pembakar dilengkapi dengan panel kontrol berbasis mikroprosesor, yang memberikan indikasi status pembakar dan penyebab kesalahan.
Optimalisasi emisi suara dijamin oleh desain khusus sirkuit penghisapan udara dan oleh material kedap suara yang disertakan. Peningkatan kinerja kipas dan kepala pembakaran, menjamin fleksibilitas penggunaan dan kinerja yang sangat baik pada semua laju pembakaran.
Desain eksklusif memastikan dimensi yang diperkecil, penggunaan dan perawatan yang mudah. Berbagai macam aksesori menjamin peningkatan fleksibilitas kerja. DI Indonesia Burner ini banyak di Gunakan untuk Aplikasi:
- Pembakar Tungku Oven Coating
- Pemanas Ruangan
- Pembakar Rotary Dryaer
- Pemanas Air Panas
- Steam Boiler
- Thermal Oil Heater
TEKNIKAL DATA RIELLO RL 70
- MODEL : RL 70
- TYPE : 660 T1
- POWER (1)
- Tahap Dua/ Nozzle ke Dua : 474 – 830 kW
- OUTPUT (2) : 408 – 714 Mcal/h kebutuhan Bahan Bakar 40 – 70 kg/h
- Tahap Satu/ Nozzle ke Satu : 255 – 474 kW
- OUTPUT (1) : Mcal/h 219 – 409 kebutuhan Bahan Bakar : 21.5 – 40 kg/h
- FUEL : LIGHT OIL/SOLAR
- – net calorific value : 11.8 kWh/kg
- Mcal/kg : 10.2 (10.200 kcal/kg)
- – density : 0.82 – 0.85 kg/dm3
- – viscosity at 20 °C : mm2/s max 6 (1.5 °E – 6 cSt)
- OPERATION • Intermittent (min. 1 stop in 24 hours).
- • Two-stage (high and low flame) and single-stage (all – nothing).
- NOZZLES : number 2
- STANDARD APPLICATIONS Boilers : water. steam. diathermic oil
- AMBIENT TEMPERATURE : 0 – 40 °C
- COMBUSTION AIR TEMPERATURE : max 60 °C
- ELECTRICAL SUPPLY : 230 – 400 with neutral ~ +/-10% , Hz 50/60 – Three-phase
- ELECTRIC MOTOR
- rpm : 2800
- W : 1100
- V : 230/400
- A : 4.7/2.7
- MOTOR CAPACITOR : F/V 16/450
- IGNITION TRANSFORMER
- V1 – V2 : 230 V – 2 x 12 kV
- I1 – I2 : 0.2 A – 30 mA
- PUMP
- output (at 12 bar) : kg/h 107
- pressure range : max 10 – 20 bar
- fuel temperature : 60 °C
- ELECTRICAL POWER CONSUMPTION : max 2000 W
- NOISE LEVEL (2) SOUND PRESSURE dB(A) : 75
- SOUND POWER : 86
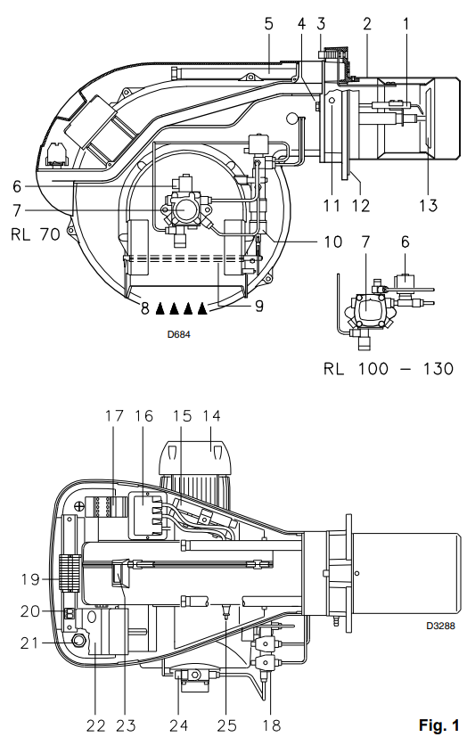
DESKRIPSI TEKNIS BURNER RL 70
1 Elektroda pengapian
2 Kepala pembakaran
3 Sekrup untuk penyetelan kepala pembakaran
4 Sekrup untuk mengencangkan kipas ke flens
5 Batang geser untuk membuka pembakar dan memeriksa kepala pembakaran
6 Katup solenoida pengaman
7 Pompa
8 Saluran masuk udara ke kipas
9 Katup gerbang udara
10 Silinder hidrolik untuk pengaturan katup gerbang udara pada posisi tahap ke-1 dan ke-2.
Saat pembakar tidak beroperasi, katup gerbang udara tertutup sepenuhnya untuk mengurangi penyebaran panas dari boiler akibat aliran asap yang menarik udara dari saluran masuk hisap kipas. 11 Titik uji tekanan kipas
12 Flensa pemasangan boiler
13 Cakram stabilitas api
14 Motor listrik
15 Ekstensi untuk bilah geser 5)
16 Trafo pengapian
17 Kontaktor motor dan pemutus termal dengan tombol reset
18 Rakitan katup tahap 1 dan 2
19 Strip terminal
20 Dua sakelar:
– satu “burner mati – hidup”
– satu untuk “operasi tahap 1 – 2”
21 Fairlead untuk pemasangan kabel yang dilakukan oleh pemasang
22 Kotak kontrol dengan lampu pilot pengunci dan tombol reset pengunci
23 Jendela pemeriksaan api
24 Penyesuaian tekanan pompa
25 Fotoresistor untuk kontrol keberadaan api
Dua jenis kegagalan pembakar dapat terjadi :
Penguncian kotak kontrol : jika tombol tekan kotak kontrol 22)(Gbr. 1) (lampu LED merah) menyala, ini menunjukkan bahwa pembakar terkunci. Untuk mengatur ulang, tahan tombol tekan selama 1 hingga 3 detik.
Motor trip : lepaskan dengan menekan tombol tekan pada pemutus termal 17)(Gbr. 1).
LAJU PEMBAKARAN

FIRING RIELLO RL 70
Laju pembakaran ditetapkan dalam kaitannya dengan boiler uji khusus sesuai dengan metode yang ditetapkan dalam standar EN 267. Gbr. 4 menunjukkan diameter dan panjang ruang pembakaran uji.
Contoh:
pengiriman 65 kg/jam:
diameter = 60 cm; panjang = 2 m.
Setiap kali pembakar dioperasikan dalam ruang pembakaran yang tersedia secara komersial yang jauh lebih kecil, pengujian awal harus dilakukan.
PT. INDIRA MITRA BOILER











Comments
No comment yet.