JUAL RIELLO RL 50 – BURNER SOLAR ITALY
Burner Riello RL 50 adalah Burner/Pembakar dengan dua Nozzle atau Two Stage/ dua tahap pembakaran, pembakaran api satu dengan kapasitas 127.000 – 255.0000 Kcal/h dan pembakaran Api dua dengan kapasitas Maksimal 510.000 Kcal/h. Burner Riello Type RL burner Paket Brand Italy. kebutuhan bakar bakar Solar Min 12,5 – 50 Kg/Jam.
Burner Riello RL 50 ini juga dirancang untuk digunakan dalam boiler air panas suhu rendah atau sedang, boiler udara panas atau uap, boiler minyak diatermik. Pengoperasiannya adalah “dua tahap”; pembakar dilengkapi dengan panel kontrol berbasis mikroprosesor, yang memberikan indikasi status pembakar dan penyebab kesalahan.
Optimalisasi emisi suara dijamin oleh desain khusus sirkuit penghisapan udara dan oleh material kedap suara yang disertakan. Peningkatan kinerja kipas dan kepala pembakaran, menjamin fleksibilitas penggunaan dan kinerja yang sangat baik pada semua laju pembakaran.
Desain eksklusif memastikan dimensi yang diperkecil, penggunaan dan perawatan yang mudah. Berbagai macam aksesori menjamin peningkatan fleksibilitas kerja. DI Indonesia Burner ini banyak di Gunakan untuk Aplikasi:
- Pembakar Tungku Oven Coating
- Pemanas Ruangan
- Pembakar Rotary Dryaer
- Pemanas Air Panas
- Steam Boiler
- Thermal Oil Heater
TEKNIKAL DATA RIELLO RL 50
- MODEL : RL 50
- TYPE : 654 T1
- POWER (1)
- Tahap Dua/ Nozzle ke Dua : 296 – 593 kW
- OUTPUT (2) : 255 – 510 Mcal/h kebutuhan Bahan Bakar 25 – 50 kg/h
- Tahap Satu/ Nozzle ke Satu : 148 – 296 kW
- OUTPUT (1) : Mcal/h 127 – 255 kebutuhan Bahan Bakar : 12,5 – 25 kg/h
- FUEL : LIGHT OIL/SOLAR
- – net calorific value : 11.8 kWh/kg
- Mcal/kg : 10.2 (10.200 kcal/kg)
- – density : 0.82 – 0.85 kg/dm3
- – viscosity at 20 °C : mm2/s max 6 (1.5 °E – 6 cSt)
- OPERATION • Intermittent (min. 1 stop in 24 hours).
- • Two-stage (high and low flame) and single-stage (all – nothing).
- NOZZLES : number 2
- STANDARD APPLICATIONS Boilers : water. steam. diathermic oil
- AMBIENT TEMPERATURE : 0 – 40 °C
- COMBUSTION AIR TEMPERATURE : max 60 °C
- ELECTRICAL SUPPLY : 230 – 400 with neutral ~ +/-10% , Hz 50/60 – Three-phase
- ELECTRIC MOTOR
- rpm : 2800
- W : 650
- V : 220/240 – 380/415
- A : 3,0 – 1,7
- MOTOR CAPACITOR : F/V 16/450
- IGNITION TRANSFORMER
- V1 – V2 : 230 V – 2 x 12 kV
- I1 – I2 : 0.2 A – 30 mA
- PUMP
- output (at 12 bar) : kg/h 88
- pressure range : max 4 – 18 bar
- fuel temperature : 60 °C
- ELECTRICAL POWER CONSUMPTION : max 750 W
- NOISE LEVEL (2) SOUND PRESSURE dB(A) : 75
- SOUND POWER : 86
DESKRIPSI BURNER RIELLO RL 50
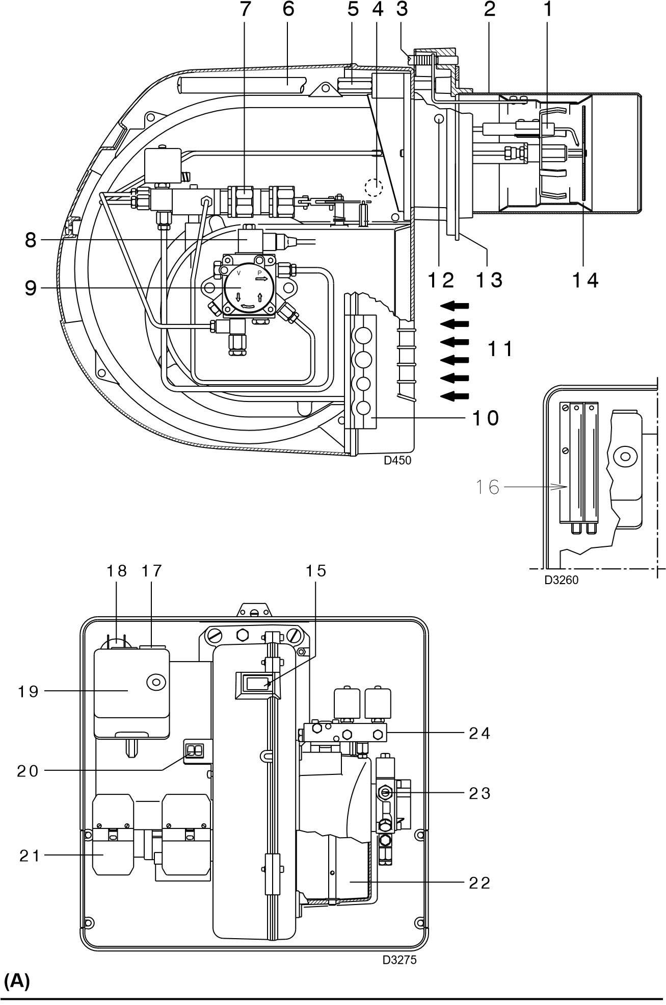
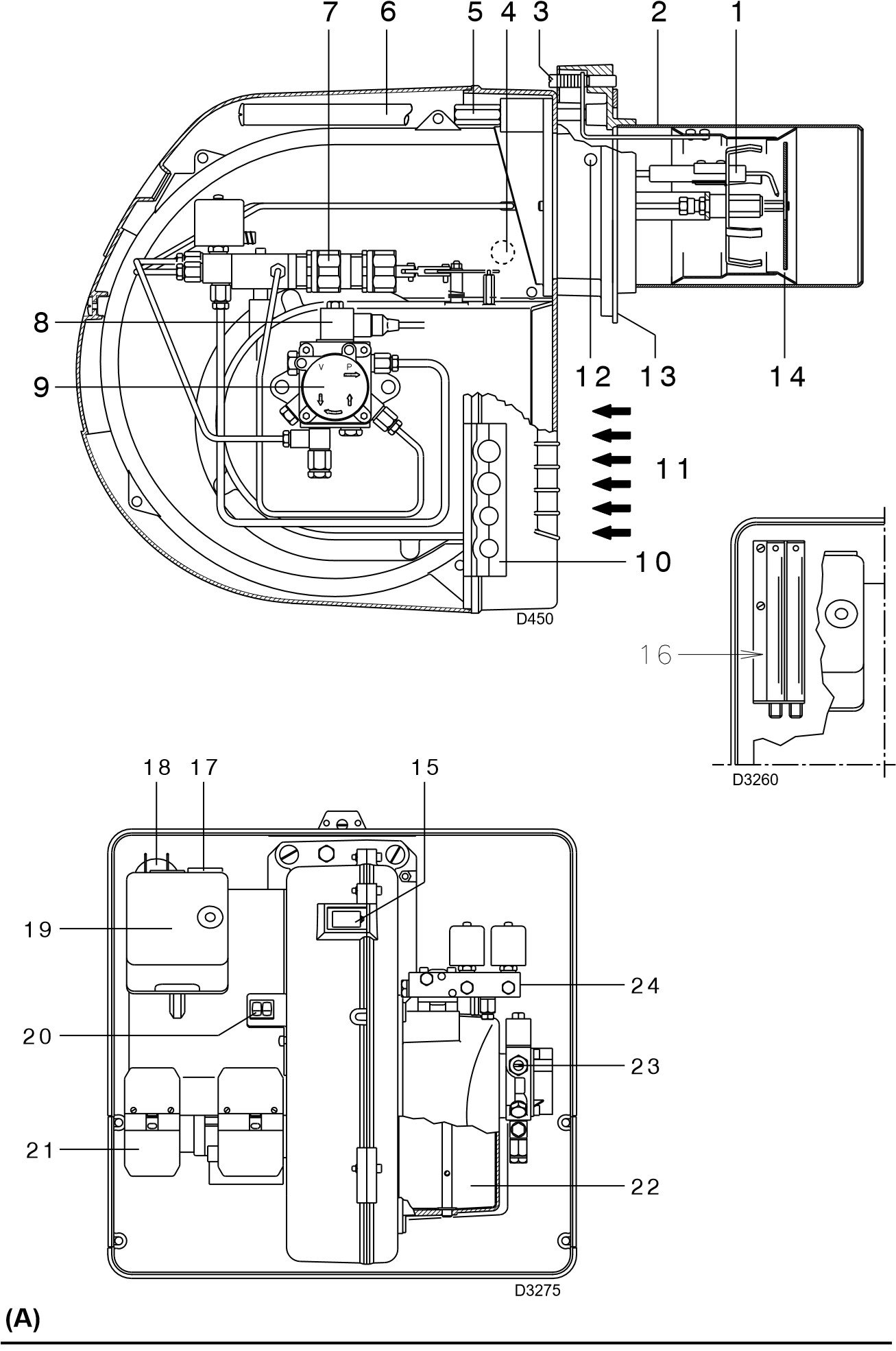
DESKRIPSI PEMBAKAR (A)
1 Elektroda pengapian
2 Kepala pembakaran
3 Sekrup untuk penyetelan kepala pembakaran
4 Fotosel untuk kontrol keberadaan api
5 Sekrup untuk memasang kipas ke flensa
6 Batang geser untuk membuka pembakar dan
memeriksa kepala pembakaran
7 Silinder hidrolik untuk pengaturan katup gerbang udara pada posisi tahap ke-1 dan ke-2.
Saat pembakar tidak beroperasi, katup gerbang udara tertutup sepenuhnya untuk mengurangi penyebaran panas dari ketel karena aliran asap yang menarik udara dari saluran masuk hisap kipas.
8 Katup solenoida pengaman (RL 38 – RL 50)
9 Pompa
10 Pelat yang telah diatur sebelumnya untuk mengebor 4 lubang untuk jalur selang dan kabel listrik. 11 Saluran masuk udara ke kipas
12 Titik uji tekanan kipas
13 Flensa pemasangan boiler
14 Cakram stabilitas api
15 Jendela pemeriksaan api
16 Ekstensi untuk bilah geser 6)
17 Kontaktor motor dan tombol reset pemutus termal
(RL 38 tiga fase – RL 50)
18 Kapasitor motor
(RL 28 – RL 38 fase tunggal)
19 Kotak kontrol dengan lampu pilot pengunci dan tombol reset pengunci
20 Dua sakelar:
– satu “pembakar mati – hidup”
– satu untuk “operasi tahap 1 – 2”
21 Steker untuk sambungan listrik
22 Katup gerbang udara
23 Penyetelan tekanan pompa
24 Rakitan katup tahap 1 dan 2
Dua jenis kegagalan pembakar dapat terjadi:
Penguncian kotak kontrol: jika tombol tekan kotak kontrol 19)(A) (lampu LED merah) menyala, ini menunjukkan bahwa pembakar terkunci. Untuk mengatur ulang, tahan tombol tekan selama antara 1 dan 3 detik.
Motor trip (RL 38 tiga fase – RL 50): lepaskan dengan menekan tombol tekan pada pemutus termal 17)(A)
PT. INDIRA MITRA BOILER











Comments
No comment yet.