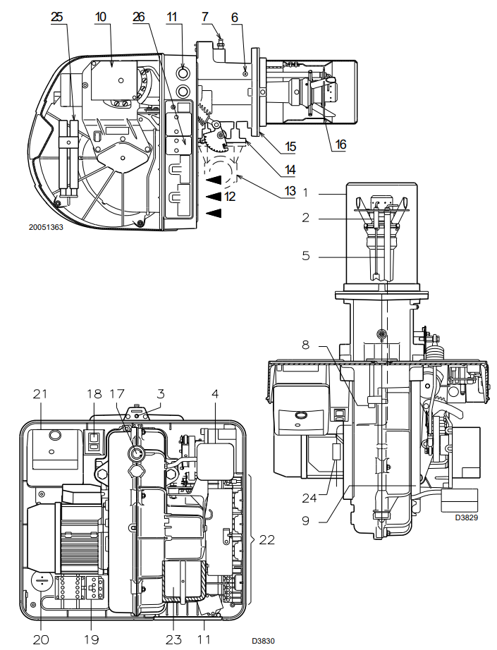
RIELLO RS 34/M – BURNER GAS ( MODULATING )

Related products