RIELLO RLS 250/M MZ – BURNER DUAL FUEL ( GAS DAN SOLAR ) MODULATING
RIELLO RLS 250/M MZ – BURNER DUAL FUEL ( GAS DAN SOLAR ) MODULATING
-
RIELLO RLS 250/M MZ – BURNER DUAL FUEL ( GAS DAN SOLAR ) MODULATING
Burner RLS 250/M MZ Adalah mesin Pembakar dual fuel ( gas dan Solar ) yang mencakup rentang daya 1230 hingga 2460 kW, dan telah dirancang untuk digunakan pada boiler air panas atau super panas, generator udara panas atau uap, serta boiler minyak diatermik. Operasinya “dua tahap” di sisi minyak dan “modulasi” di sisi gas dengan pemasangan regulator logika PID dan probe masing-masing.
Burner seri RLS/M MZ menjamin tingkat efisiensi tinggi di semua aplikasi, sehingga mengurangi konsumsi bahan bakar dan biaya operasional. Optimalisasi emisi suara dijamin oleh desain khusus sirkuit penghisap udara dan penggunaan material kedap suara. Desain eksklusif ini memastikan dimensi yang ringkas, penggunaan, dan perawatan yang mudah. Beragam aksesori menjamin fleksibilitas kerja yang tinggi.
SPESIFIKASI BURNER RLS 250/M MZ
KATEGORI SPESIFIKASI Model / Tipe RLS 250/M MZ Output – 2nd Stage (Min–Max) 1230 – 2460 kW Delivery – 2nd Stage (Min–Max) 104 – 207 kg/h Output – 1st Stage (Min) 550 kW Delivery – 1st Stage (Min) 47,5 kg/h Fuel (Bahan bakar) Light oil, viskositas 20 °C: 6 mm²/s max (1,5°E – 6 cSt)Natural gas: G20 (methane), G21, G22, G23, G25 Tekanan gas pada kapasitas maksimum (G20/G25) 14 / 21 mbar Operation (Mode operasi) – Intermittent (min. 1 stop dalam 24 jam)– Light oil: two-stage (api tinggi/rendah) atau single-stage (all-nothing)– Gas: progressive two-stage atau modulating (dengan kit aksesori) Jumlah Nozzle 2 Aplikasi Standar Boiler: air, steam, minyak diathermic Temperatur Ambien 0 – 40 °C Temperatur Udara Pembakaran (maks.) 60 °C Pompa – Delivery (12 bar) 230 kg/h Pompa – Pressure Range 10 – 21 bar Pompa – Temperatur Fuel (maks.) 90 °C Conformity to EEC Directives 90/396 – 2006/42 – 2004/108 – 2006/95 Noise Level 85 dBA Approval CE – 0085BP0439 DESKRIPSI BURNER
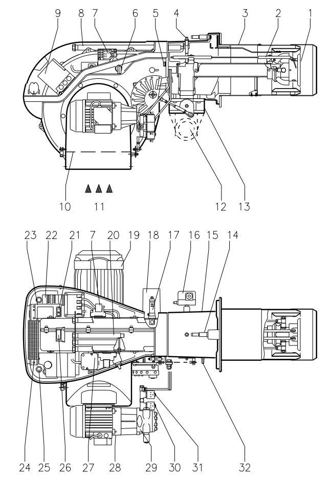
1 Cakram stabilitas nyala
2 Elektroda pengapian
3 Kepala pembakaran
4 Titik uji tekanan gas dan sekrup pengencang kepala
5 Sekrup yang menahan kipas ke selongsong
6 Selektor MINYAK/GAS
7 Relai
8 Batang geser untuk membuka pembakar dan
memeriksa kepala pembakaran
9 Kotak kontrol dengan lampu pilot pengunci dan tombol reset pengunci
10 Katup gerbang udara
11 Saluran masuk udara ke kipas
12 Pipa saluran masuk gas
13 Katup kupu-kupu gas
14 Sekrup untuk penyetelan kepala pembakaran
15 Selongsong dengan flens untuk menahan pembakar ke
boiler
16 Sakelar tekanan gas maks.
17 Sel UV
18 Servomotor yang mengendalikan katup kupu-kupu gas dan katup gerbang udara (melalui
mekanisme cam profil variabel).
Saat pembakar tidak beroperasi, katup gerbang udara tertutup sepenuhnya untuk mengurangi penyebaran panas dari boiler akibat aliran udara cerobong yang menarik udara dari saluran masuk hisap kipas. 19 Motor kipas
20 Ekstensi untuk batang geser 8)
21 Sakelar daya untuk berbagai operasi: otomatis – manual – mati
Tombol untuk: Peningkatan daya – pengurangan daya
22 Kontaktor motor dan pemutus termal dengan tombol reset
23 Braket untuk memasang regulator daya RWF40
24 Strip terminal
25 Fairlead untuk sambungan listrik oleh pemasang
26 Jendela inspeksi api
27 Sakelar tekanan udara minimum (tipe operasi diferensial)
28 Motor pompa
29 Pompa
30 Katup solenoida pengaman
31 Katup tahap 1 dan 2
32 Titik uji tekanan udaraPT. INDIRA MITRA BOILER
Gudang : Blk. D19 Jl. Utama Raya Perum Permata Sepatan No.21, Pisangan Jaya, Kec. Sepatan, Kabupaten Tangerang, Banten 15520Office : Emerald Residence Sepatan Ruko 8i, RT.026/RW.005, Kosambi, Kec. Sukadiri, Kabupaten Tangerang, Banten 15530Whatsapp : 0895 3287 02165Mobile : 0821 1185 1623Tlp : 021 5011 0567Email : wahyuidm86@gmail.comwahyuspi46@gmail.com -
Be the first to review “RIELLO RLS 250/M MZ – BURNER DUAL FUEL ( GAS DAN SOLAR ) MODULATING”






Reviews
There are no reviews yet.