TWO STAGE KAPASITAS 300.000 KCAL SOLAR
BURNER RIELLO PRESS GW – 300.000 KCAL
-
PEMBAKAR RIELLO PRESS GW – 300.000 KCAL
Pembakar Riello PRESS GW adalah burner Riello Italia yang mencakup jarak tembak dari 130 hingga 534 kW dan telah dirancang untuk digunakan dalam instalasi sipil dengan dimensi rata-rata, seperti area bangunan dan grup apartemen besar atau untuk digunakan dalam aplikasi industri, seperti pabrik kecil atau menengah.
- KODE : 3473784
- MODEL : TEKAN GW
- JENIS : 605 T80
Kepala pembakaran, yang dapat diatur berdasarkan output yang dibutuhkan, memungkinkan kinerja optimal, memastikan pembakaran yang baik, dan mengurangi konsumsi bahan bakar. Fitur utama burner ini adalah kinerjanya berkat konstruksi yang sederhana dan kuat, yang memungkinkan pengoperasian tanpa intervensi perawatan khusus. Perawatan yang dicapai berkat sistem batang geser, yang memudahkan akses ke semua komponen penting kepala pembakaran. Semua komponen kelistrikan mudah diakses hanya dengan melepas panel pelindung, sehingga menjamin intervensi yang cepat dan mudah pada komponen.
DATA TEKNIS RIELLO PRESS GW
- Daya termal 107 / 178 – 350 kW – 92.000 / 153.000 – 301.000 kkal/jam
Output 9/15 – 30 kg/jam - Bahan Bakar Minyak gas, viskositas maks. pada 20 °C: 6 mm2/s (1,5 °E)
- Pasokan listrik Fase tunggal 220V +10% -10% ~ 60Hz
- Motor 1,85 A / 220V
- Kapasitor 8 µF
- Trafo pengapian Primer: 1,8 A / 220V – Sekunder: 1x 8 kV – 30 mA
- Daya listrik yang diserap 0,4 kW
- Aplikasi : Steam Boiler, Thermal Oil Heater, Mesin Oven, Rotary Dryer
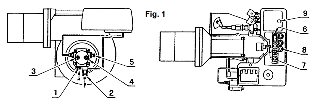
DESKRIPSI BURNER RIELLO PRESS GW

1 – Pemasangan saluran hisap
2 – Pemasangan saluran balik
3 – Titik pemasangan pengukur hisap (G 1/8)
4 – Titik pemasangan pengukur tekanan (G 1/8)
5 – Pengatur tekanan pompa
6 – Papan terminal kabel
7 – Poros kontrol kepala pembakaran
8 – Kabel penyalur
9 – Tombol reset kotak kontrol dengan sinyal pengunciKuantitas Aksesoris:
2 Saluran minyak fleksibel
2 Konektor untuk fleksibel
2 Gasket untuk fleksibel
1 Gasket flensa
4 Sekrup
1 Sambungan pipa
1 Gasket sambungan pipaSPESIFIKASI RIELLO PRESS GW
Pembakar minyak monoblok dengan aliran udara paksa dan operasi dua tahap, sepenuhnya otomatis, terdiri dari:
- – Sirkuit hisap udara berlapis material kedap suara
- – Kipas dengan bilah pisau lengkung maju dengan kinerja tinggi dalam hal tekanan dan pengiriman udara
- – Peredam udara untuk pengaturan udara
- – Ram hidrolik untuk mengontrol peredam udara
- – Motor starter pada 2800 rpm, tiga fase 400V dengan netral, 50Hz (fase tunggal, 230V dan 50Hz untuk model PRESS GW)
- – Kepala pembakaran, yang dapat diatur berdasarkan output yang dibutuhkan, dilengkapi dengan:
- – kerucut ujung baja tahan karat, tahan terhadap korosi dan suhu tinggi
- – elektroda pengapian
- – Kapur stabilitas nyala api
- – Titik uji tekanan kipas
- – Pompa roda gigi untuk menyuplai bahan bakar bertekanan tinggi, dilengkapi dengan:
- – menyaring
- – pengatur tekanan
- – sambungan untuk memasang pengukur tekanan dan vakuometer
- – bypass internal untuk pemasangan pipa tunggal
- – Unit katup dengan dua katup oli pengiriman pada sirkuit keluaran
- – Fotosel untuk mendeteksi nyala api
- – Kontrol keamanan pembakar berbasis mikroprosesor Kotak dengan fungsi diagnostik
- – Bilah geser untuk memudahkan pemasangan dan perawatan
- – Filter pelindung terhadap gangguan radio
- – Tingkat perlindungan listrik IP 44.
KATALOG PRESS G_TS0037UK01
PT. INDIR A MITRA BOILER
Gudang : Blk. D19 Jl. Utama Raya Perum Permata Sepatan No.21, Pisangan Jaya, Kec. Sepatan, Kabupaten Tangerang, Banten 15520Kantor : Emerald Residence Sepatan Ruko 8i, RT.026/RW.005, Kosambi, Kec. Sukadiri, Kabupaten Tangerang, Banten 15530Whatsapp : 0895 3287 02165Ponsel : 0821 1185 1623Telp : 021 5011 0567Email : wahyuidm86@gmail.comwahyuspi46@gmail.com -
Be the first to review “BURNER RIELLO PRESS GW – 300.000 KCAL”







Reviews
There are no reviews yet.