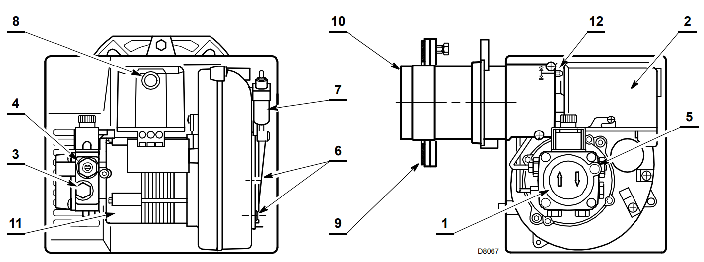
RIELLO 40 GS10 – BURNER GAS ( SINGLE SATGE )

Related products